Brideport 6-port Ideas
I'd really like to see this thread progress further. Especially from someone (other than Adam) with first-hand experience. I'm really wanting to do the standard aux-bridge, but as the time gets closer to start cutting away metal, I keep wanting to go back to the standard big-assed SP...
Mazdaspeed, what kind of custom intake do you envision would work well for a bridged aux port motor that still uses the aux. port actuators? I was thinking of a tubular manifold design with longer runners for the 4 main ports and shorter runners for the bridged aux ports. So six runners total running to a common plenum. Hopefully I could design the runner lengths to be appropriate for the port timing and redline.
Originally Posted by Travis R' date='Oct 7 2003, 11:41 AM
Mazdaspeed, what kind of custom intake do you envision would work well for a bridged aux port motor that still uses the aux. port actuators? I was thinking of a tubular manifold design with longer runners for the 4 main ports and shorter runners for the bridged aux ports. So six runners total running to a common plenum. Hopefully I could design the runner lengths to be appropriate for the port timing and redline.
Liquid, give me a 2 weeks to break in my SP, so I can give a full review, but even after 290 miles, I couldnt be any happier with my SP motor. No regrets about the aux bridge at all.
I have an Excel spreadsheet someone on RX7club did a little while ago, with my formula for calculating runner length, BUT, it wont let me attach it. The port timing for the aux bridge was from my motor. I measured it with a degree wheel before I assembled the engine.
Why would I want to tune both sets of runners for the same torque peek? It seems like with the 6th port actuators in tact we have an opportunity to have ram effects at two different RPM's, resulting in a flatter torque curve.
I saw your runner length calc. on the other forum. I love that thread.
I saw your runner length calc. on the other forum. I love that thread.
I never said you had to tune for the same torque peak, but even tuned for different rpm's, the lengths of the runners will be considerably different. There is a very large difference in port timing between the bridged aux port, and the other non-bridged port.
Originally Posted by Travis R' date='Oct 7 2003, 02:19 PM
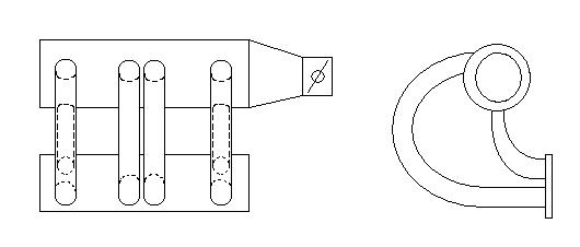
Here's a slightly modified version of my Uber-crappy pic in case there was any confusion about the runner layout.
Enjoy!
Enjoy!
Originally Posted by Baldy' date='Oct 7 2003, 02:24 PM
[quote name='Travis R' date='Oct 7 2003, 02:19 PM'] Here's a slightly modified version of my Uber-crappy pic in case there was any confusion about the runner layout.
Enjoy!
Enjoy!
Yep. He did exactly the opposite of what I told him to...
Ha ha! Who are you my dad? 
If I want the aux port runner to be tuned for higher RPM wouldn't I want it to be short?
I think I understand that they will be open the longest, but how does that relate to the time it takes for the wave to get to the plenum and back?
If I want the aux port runner to be tuned for higher RPM wouldn't I want it to be short?
I think I understand that they will be open the longest, but how does that relate to the time it takes for the wave to get to the plenum and back?



